school profile
发布时间:2022/5/11 发布者:继续教育与培训科 访问次数:
根据教育部等四部门《关于在院校实施“学历证书+若干职业技能等级证书”制度试点方案》(教职成〔2019〕6号)、教育部办公厅等三部门《关于推进1+X证书制度试点工作的指导意见》(教职成厅函〔2019〕19号)等文件精神和相关工作安排,我校开展了2022年1+X职业技能等级证书制度试点申报工作。
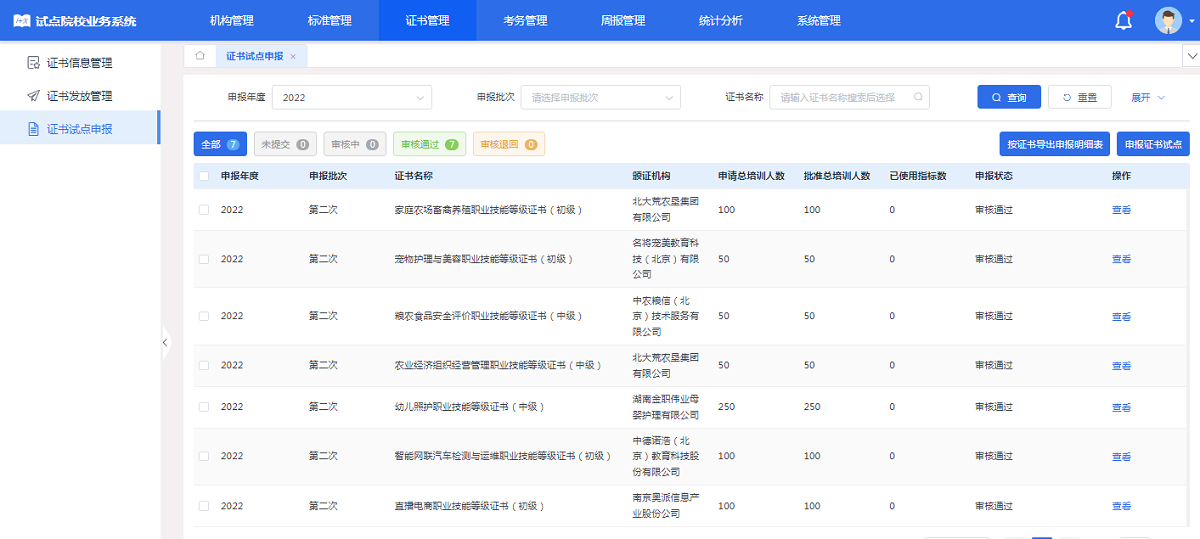
按照《重庆市教育委员会关于开展2022年1+X证书制度试点申报工作的通知》要求,学校高度重视,继续教育与培训部及各系部结合学校实际和专业建设特点,积极对接评价组织,深入了解证书内涵、职业技能等级标准、培训考核条件建设要求等,认真评估开展证书试点的工作基础,制定切实可行的实施方案。据教育部职业技能等级证书信息管理平台显示,我校的证书试点申请(7项证书)已全部审批完成,申请总培训人数700人。
推行“1+X证书制度”是《国家职业教育改革实施方案》的核心内容和重点项目之一,也是落实立德树人根本任务、完善职业教育和培训体系、深化产教融合校企合作的重要举措。学校将以此次试点工作为契机,对标1+X证书体系,进一步深化教育教学改革,优化专业人才培养方案,增强人才培养与产业需求的吻合度。

1+X职业技能职业技能等级证书试点申报通过审核
文稿:曾瑾
图片:曾瑾
编辑:曾瑾